
INCH-POUND
MIL-PRF-29504/1B
12 November 2002
SUPERSEDING
MIL-T-29504/1A
19 December 1989
PERFORMANCE SPECIFICATION SHEET
TERMINI, FIBER OPTIC, CONNECTOR, REMOVABLE,
ENVIRONMENT RESISTING, PIN TERMINUS,
(FOR MIL-C-28876 and MIL-C-83526 CONNECTORS)
Inactive for new design after 15 December 2001
For new design use MIL-PRF-29504/14
This specification is approved for use by all Departments
and Agencies of the Department of Defense.
The requirements for acquiring the product described herein
shall consist of this specification and MIL-PRF-29504.
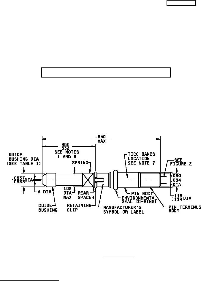
FIGURE 1.
Pin terminus
AMSC N/A
1 of 8
FSC 6060
DISTRIBUTION STATEMENT A.
Approved for public release; distribution is unlimited.
For Parts Inquires call Parts Hangar, Inc (727) 493-0744
© Copyright 2015 Integrated Publishing, Inc.
A Service Disabled Veteran Owned Small Business