
INCH-POUND
MIL-PRF-29504/13A
12 November 2002
SUPERSEDING
MIL-T-29504/13
21 May 1992
PERFORMANCE SPECIFICATION SHEET
TERMINI, FIBER OPTIC, CONNECTOR, REMOVABLE,
ENVIRONMENT RESISTING, SOCKET TERMINUS, FRONT RELEASE,
STAINLESS STEEL, (FOR MIL-C-28876 CONNECTORS)
Inactive for new design after 15 January 2002
For new design use MIL-PRF-29504/15
This specification is approved for use by all Departments
and Agencies of the Department of Defense.
The requirements for acquiring the product described herein
shall consist of this specification and MIL-PRF-29504.
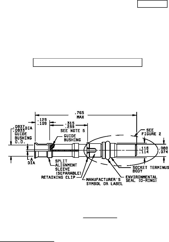
FIGURE 1.
Socket terminus
AMSC N/A
1 of 7
FSC 6060
DISTRIBUTION STATEMENT A.
Approved for public release; distribution is unlimited.
For Parts Inquires call Parts Hangar, Inc (727) 493-0744
© Copyright 2015 Integrated Publishing, Inc.
A Service Disabled Veteran Owned Small Business